Производитель: FAAC
Основные параметры:
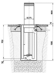
Боллард автоматический с гидравлическим приводом, высота 800 мм; 220В, опускание за 1,2сек, время поднятия 7 сек, работа при - 40 0С
Состав комплекта: автоматический дорожный блокиратор (столб) J275+ подземный бокс для болларда + удлинитель бокса + плата управления + система подогрева бокса
Дорожный блокиратор Faac J 275 H800 STEEL описание
— автоматический выдвижной столб с гидравлическим приводом. Это целая система для ограничения проезда, являющаяся надежной преградой
для транспорта без допуска. Мощный гидравлический привод работает стабильно в любую погоду, с системой подогрева даже при — 400С оборудование выполняет все свои функции. Прекрасно подходит для организации проезда строго по разрешению/допуску/пропуску. Высокая скорость выполнения команд — всего 1-2 секунды требуется на освобождение проезда (опускание столба в подземный бокс) и всего 7 секунд для поднятия и контроля проезда вновь.
Появление различных приспособлений для ограничения проезда на территорию или по конкретной дороге продиктовано законным желанием обычных людей и общества в целом обезопасить все области нашей жизнедеятельности. Устанавливают автоматические выдвижные столбы — болларды в местах, где нужен жесткий контроль проезда. Это чаще объекты общественного значения, военные базы, склады, посольства и пр.
Корпус болларда версии STEEL — прочная окрашенная сталь толщиной 7 мм, класс защиты очень высокий IP67, поэтому в любых регионах конструкция устоит перед неблагоприятными климатическими условиями. Оснащен светодиодной подсветкой в виде кольца в верхней части столба и функцией звукового оповещения. При сбое электропитания возможно автоматическое опускание столба, если данная функция не отключена.
Автоматический блокиратор J 275 H800 в системе совместим и взаимозаменяем всеми более ранними версиями боллардов Faac.

Faac предлагает версию блокиратора J275 H800 STAINLESS из нержавеющей стали.
Шлифованная нержавеющая сталь — очень прочный материал, повышает степень «противотараности» и устойчивости к любому физическому воздействию.
Технические характеристики Faac J275 H800 гидравлического болларда
| Тип привода |
гидравлический |
| Питание системы |
230В |
| Питание двигателя |
220В |
| Мощность |
220 Вт |
| Время опускания / скорость |
1,2 сек |
| Скорость / Время выдвижения |
7 сек |
| Интенсивность работы |
высокая |
Параметры болларда
|
| Диаметр столба |
275 мм |
| Высота столба |
800 мм |
| Общие параметры |
| Класс защиты |
IP67 |
| Температура работы системы |
-40…+55 0С |
| Размеры подземного бокса |
560х560х1220 мм |
| Материал циллиндра |
сталь окрашенная |
| Комплектация |
|
| Состав комплекта |
автоматический дорожный блокиратор (столб) J275/800
подземный бокс для болларда JP275/600 в комплекте с рамой
удлинитель бокса JP275/800 для H800
плата управления JE275 для 4-х столбов (макс.)
система подогрева бокса JH275
|