Производитель: FAAC
Основные параметры:
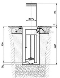
Боллард автоматический с гидравлическим приводом, высота 600 мм; 220В, время опускания 1сек, время поднятия 5 сек, работа при - 40 0С
Состав комплекта: автоматический дорожный блокиратор (столб) J275+ подземный бокс для болларда + плата управления + система подогрева бокса
Дорожный блокиратор Faac J 275 H600 STEEL описание
— автоматический выдвижной столб с гидравлическим приводом. Это целая система для ограничения проезда, являющаяся надежной преградой
для транспорта без допуска. Мощный гидравлический привод работает стабильно в любую погоду, с системой подогрева даже при — 400С оборудование выполняет все свои функции. Прекрасно подходит для организации проезда строго по разрешению/допуску/пропуску. Высокая скорость выполнения команд — всего 1 секунда требуется на освобождение проезда (опускание столба в подземный бокс) и всего 5 секунд для поднятия и контроля проезда вновь.
Появление различных приспособлений для ограничения проезда на территорию или по конкретной дороге продиктовано законным желанием людей и общества в целом обезопасить все области нашей жизнедеятельности. Устанавливают автоматические выдвижные столбы — болларды в местах, где нужен жесткий контроль проезда. Это чаще объекты общественного значения, военные базы, склады, посольства и пр.
Корпус болларда версии STEEL — прочная окрашенная сталь толщиной 7 мм, класс защиты очень высокий IP67, поэтому в любых регионах конструкция устоит перед неблагоприятными климатическими условиями. Оснащен светодиодной подсветкой в виде кольца в верхней части столба и функцией звукового оповещения.

Автоматический блокиратор J 275 H600 в системе совместим и взаимозаменяем всеми более ранними версиями боллардов Faac.
Faac предлагает версию блокиратора J275 H600 STAINLESS из нержавеющей стали. Шлифованная нержавеющая сталь — очень прочный материал, повышает степень «противотараности» и устойчивости к любому физическому воздействию.
Технические параметры Faac J275 H600 болларда гидравлического
| Тип привода |
гидравлический |
| Питание системы |
230В |
| Питание двигателя |
220В |
| Мощность |
220 Вт |
| Время опускания / скорость |
1 сек |
| Скорость / Время выдвижения |
5 сек |
| Интенсивность работы |
высокая |
Параметры болларда
|
| Диаметр столба |
275 мм |
| Высота столба |
600 мм |
| Общие параметры |
| Класс защиты |
IP67 |
| Температура работы системы |
-40…+55 0С |
| Размеры подземного бокса |
560х560х950 мм |
| Материал циллиндра |
сталь окрашенная |
| Комплектация |
|
| Состав комплекта |
автоматический дорожный блокиратор (столб) J275/600
подземный бокс для болларда JP275/600 в комплекте с рамой
плата управления JE275 для 4-х столбов (макс.)
система подогрева бокса JH275
|