+7 (495) 410-37-83
+7 (915) 076-92-67
режим работы офиса:
с 9.30 до 18.00 кроме вых.

Перейдите в каталог, выберите требуемый товар и добавьте его в корзину.

FAAC 390 KIT Рычажные

  • Розн. 49 320 руб.
СПОСОБЫ ДОСТАВКИ

Самовывоз со склада м. Бутырская (бесплатно)

По Москве: в течении 1-2 дней

По России: отгрузка через транспортные компании 1-2 дня
Производитель: FAAC

Основные параметры:

для распашных ворот весом до 400 кг и шириной до 3 метров, в составе 2 приводов 390 с питанием 220В, блока управления 455D в корпусе, шарнирные рычаги и концевые выключатели

Подробнее:

интенсивность использования 30%, температурный режим до -30 град.С.

Особенности и использование приводов FAAC 390 KIT для распашных ворот

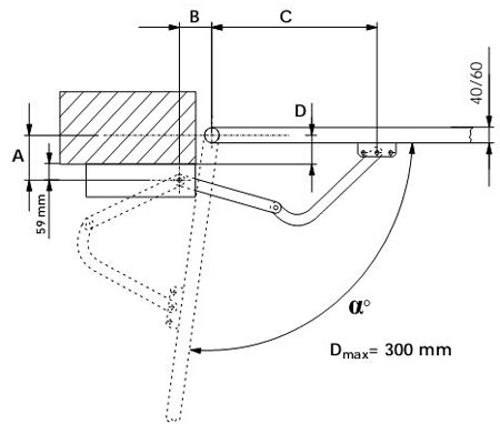
Электромеханические приводы FAAC 390 KIT предназначены для установки на широкие столбы с глубоким расположением петель, для использования в частном секторе и не высокой интенсивности схема установки приводов FAAC 390 KIT на распашные воротаиспользования. При ширине створки более 1,8 м требуется установка электрозамка.

Режимы работы и настройка приводов FAAC 390 KIT проводится в блоке управления при помощи дисплея кнопок программирования.

Режимы блока управления — автоматический, полуавтоматический, присутствия оператора, пошаговый с фотоэлементами, полуавтоматический пошаговый, режим частичного открывания – калитки, работа фотоэлементов при открывании и закрывании и другие.

В блоке управления приводов FAAC 390 KIT функция замедления включается по времени, функция обнаружения препятствия реализована электронным энкодером. Время автоматического закрывания регулируется в пределах 0 до 4 мин, время задержки одной створки при открывании 2 сек, при закрывании в диапазоне 0 до 20 сек. Настраиваемое усилия каждого привода в отдельности — 50 предустановленных значений. Время работы приводов от 0 до 120 сек. Есть функция предварительного мерцания сигнальной лампы – 5 сек, алгоритм при срабатывании фотоэлементов меняет направление движения створок. После каждого цикла проводится автоматический тест фотоэлементов.

Блок управления включает режимы замедления приводов по времени, концевым выключателям или энкодером.

Приводы FAAC 390 KIT имеют защиту от перегрева двигателей 140 град.С и подходят для уличной установки – климатический класс защиты IP44, температурный режим -300 +550 С.

 Технические характеристики рычажных приводов

Модель привода 390
Тип привода электромеханический, рычажный
Питание системы 230 В
Питание двигателя 230 В
Потребляемый ток 1,2 А
Мощность 280 Вт
Макс. крутящий момент 250 Hм
Скорость угловая 9 0/сек
Интенсивность работы 30%
Концевые выключетели механические концевые выключатели открытия и закрытия (в комплекте)
Параметры ворот
Максимальная ширина створки 3 м
Максимальный вес створки ворот 400 кг
Общие параметры
Класс защиты IP44
Температура работы системы -30…+55 0С
Размеры 410х130х130 мм
Вес 11,5 кг
Комплектация
Состав комплекта FAAC 390 KIT

привод эл/мех 390 с шарнирным рычагом 2 шт.

плата управления 455D с корпусом

набор для концевого выключателя открывания и закрывания 4 шт

26.01.2014, 3488 просмотров.