Производитель: Nice
Основные параметры:
Привод RB400 серии ROBUS откатных ворот весом до 400 кг, в составе электропривода с моторедуктором на 24В и встроенного блока управления. Встроенная защита от перегрева, авторегулировка усилия в холодную погоду.
Интенсивность использования до 35 циклов /час. 
Установка и настройка привода NICE RB400 ROBUS
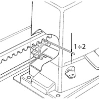
Привод NICE RB400 для бытового использования для легких откатных ворот, со скоростью движения створки до 0,34 м/секунду, имеет тяговое усилие 400 H, потребляемая мощность 250 ВТ. Алгоритм работы привода регулирует усилие при снижении температур, автоматически определяет препятствие. Пружинный рычажок с концевыми выключателями совместно с механическими ограничителями, установленными на зубчатой рейке, определяют крайнее положение ворот. В процессе настройки, после установки, проводят запоминание крайних положений, установку основных функций автоматики.
Блок управления привода NICE RB400 поддерживает функции частичного открытия-калитки, автоматического закрывания, закрытия после срабатывания фотоэлементов, предварительное мерцание сигнальной лампы, пиковая нагрузка, всегда закрыто, дежурный режим, пошаговое управление, присутствие оператора. Имеется регулировка скорости движения створки 6 предустановленными значениями. Программирование режимов блока управления ведется 3 кнопками, для отображения используются светодиодные индикаторы. Блок управления оснащен системой BlueBUS – неполярной двухпроводной шиной для подключения фотоэлементов и сигнальных ламп BlueBUS. В комплекте привода NICE RB400 имеются ограничители, устанавливаемые на зубчатую рейку. Для подключения радиоприемника имеется разъем SM. Простое обучение брелков. Программирование брелка проводится нажатием 1 кнопки. Привод совместим любыми брелками NICE, соответствующими кодировке приемника. Тип брелков (кодировка) фиксируется при записи 1-ого брелка, т.е. не доступно одновременное использование брелков с разной кодировкой.
Климатический класс защиты IP 44, рабочие температуры -200 С до +500 С. Внутри корпуса NICE RB400 предусмотрено место для установки и подключения батареи PS124 с устройством подзаряда.
Характеристики привода
| Общие характеристики системы |
| Питание системы |
230 В |
| Питание двигателя |
24 В |
| Макс. ток |
1,1 А |
| Мощность |
250 Вт |
| Толкающее усилие |
400 H |
| Скорость открывания |
0,34 м/с |
| Количество маневров в сутки |
|
| Интенсивность работы |
35 цикл/час |
| Концевые выключатели |
электромеханические микровыключатели |
| Система BlueBus |
да |
| Функция «определение препятствия» |
есть, контроль силы тока |
| Функция «автоматическое закрывание» |
есть |
| Функция автодиагностики |
есть |
| Режим «калитки» |
есть |
| Разблокировка |
механическая |
| Параметры откатных ворот |
| Макс. вес створки |
400 кг |
| Макс. длина створки |
7 м |
| Общие параметры |
| Класс защиты |
IP54 |
| Температура работы системы |
-20…+55 0С |
| Термозащита |
1500 |
| Размеры |
330х210х303 мм |
| Вес |
8 кг |
| Комплектация |
|
| Состав комплекта |
привод электромеханический RB400
встроенный блок управления
|